DDR爱好者之家 Design By 杰米
近日,有Reddit网友发现了一项R星关于《GTA6》人物动画的专利,该专利是在一个人的LinkedIn页面发现的。而这个人的名字最早出现在了《GTA6》的泄露视频中。(这位用户就是通过这个名字找到的专利)
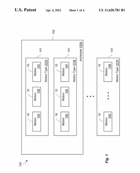
该专利共有11页内容,根据网友分析,R星在游戏中建立了一个智能的动画系统。通过建立一个关于角色动作的小型构建库,来自由组合各种动画。
例如,游戏中的角色在雨中行走,感到疲倦或受伤时的动作。这些动作不是为了这种状态单独设计的,而是通过这个动画库自然地将多个动作组合在一起。
这意味着《GTA6》可以拥有更加多样化和逼真的动画。所以,在《GTA6》中很可能会看到角色的移动方式、动作会受到天气状况和受伤程度的影响。
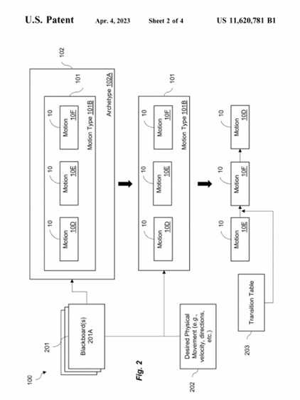
此外,该用户还从泄露视频中找到了使用该机制的动画,展示了角色在受到攻击时的移动方式。同时,这个功能也被运用到了NPC中,之前泄露的视频中,警察会根据墙/栅栏的高度来改变其动作。不过之前泄露的只是非常早期的版本,最终版应该会更加出色。
专利文件部分内容:
本文由游民星空制作发布,未经允许禁止转载。
更多相关资讯请关注:GTA6专区
DDR爱好者之家 Design By 杰米
广告合作:本站广告合作请联系QQ:858582 申请时备注:广告合作(否则不回)
免责声明:本站资源来自互联网收集,仅供用于学习和交流,请遵循相关法律法规,本站一切资源不代表本站立场,如有侵权、后门、不妥请联系本站删除!
免责声明:本站资源来自互联网收集,仅供用于学习和交流,请遵循相关法律法规,本站一切资源不代表本站立场,如有侵权、后门、不妥请联系本站删除!
DDR爱好者之家 Design By 杰米
暂无评论...
RTX 5090要首发 性能要翻倍!三星展示GDDR7显存
三星在GTC上展示了专为下一代游戏GPU设计的GDDR7内存。
首次推出的GDDR7内存模块密度为16GB,每个模块容量为2GB。其速度预设为32 Gbps(PAM3),但也可以降至28 Gbps,以提高产量和初始阶段的整体性能和成本效益。
据三星表示,GDDR7内存的能效将提高20%,同时工作电压仅为1.1V,低于标准的1.2V。通过采用更新的封装材料和优化的电路设计,使得在高速运行时的发热量降低,GDDR7的热阻比GDDR6降低了70%。
更新日志
2025年12月20日
2025年12月20日
- 小骆驼-《草原狼2(蓝光CD)》[原抓WAV+CUE]
- 群星《欢迎来到我身边 电影原声专辑》[320K/MP3][105.02MB]
- 群星《欢迎来到我身边 电影原声专辑》[FLAC/分轨][480.9MB]
- 雷婷《梦里蓝天HQⅡ》 2023头版限量编号低速原抓[WAV+CUE][463M]
- 群星《2024好听新歌42》AI调整音效【WAV分轨】
- 王思雨-《思念陪着鸿雁飞》WAV
- 王思雨《喜马拉雅HQ》头版限量编号[WAV+CUE]
- 李健《无时无刻》[WAV+CUE][590M]
- 陈奕迅《酝酿》[WAV分轨][502M]
- 卓依婷《化蝶》2CD[WAV+CUE][1.1G]
- 群星《吉他王(黑胶CD)》[WAV+CUE]
- 齐秦《穿乐(穿越)》[WAV+CUE]
- 发烧珍品《数位CD音响测试-动向效果(九)》【WAV+CUE】
- 邝美云《邝美云精装歌集》[DSF][1.6G]
- 吕方《爱一回伤一回》[WAV+CUE][454M]





